未分類
就愛揮揮手 谷歌挺進汽車電子新專利
2013.10.08 作者:陳冠勳

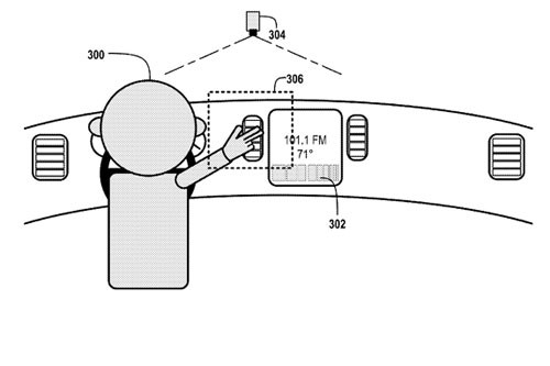
Google最新一件專利作品,以不須直接接觸車內中控台上的音響、空調介面,利用手勢就能操作這些功能。這項專利運作的原理,蠻像XBOX的kinect,車內會安裝一個辨識鏡頭,來判讀手勢。簡單來說,當手擺在音響、空調,或是窗戶等範圍,就能進行該功能的調整。
![]() |
還好,這件專利案目前並不包含對油門、剎車,或是方向盤等控制,的確令人稍稍鬆了口氣,否則光是要人想像那種緊急煞車的情境,真不知如何以手勢表達呢。
![]() |
| 谷歌專利是否意味著未來中控台將不會再有這些按鈕的配置。甚至未來的駕駛,想必個個都如阿湯哥。 |
-
新車只要 63 萬日圓! 可以乘坐 3 人的「最新三輪車」在日本首度創下快舉! 只要 150 日圓就能跑 100 公里,超級省錢...
-
每公升可跑約 30 公里!豐田全新「旅行車」引發熱烈討論! 不少人說「新車 235 萬日圓超划算!」、「油耗太省了,太驚人…」 ...
-
一輛新車只要310萬日圓!本田最新款「四人座運動車型」也推出了高性能「R」版本!這款動力強勁的四驅車型搭載了特別調校的“990cc引擎”,是...
-
睽違 7 年全面改款,豐田新一代「RAV4」全球首次亮相! 超過 300 匹馬力的「運動版」以及「GRS」也一併亮相! 全長約...
-
豐田新款「大型Yaris Cross」一公布就引起熱烈討論! 不少網友留言說「設計感像RAV4,好帥!」、「專屬設計真的很吸引人!」<...
-
全新加裝超舒適「大型遮陽簾」! 每公升可跑 20 公里 的「新款 7 人座」頂級豪華 MPV 超厲害! 後座舒適度也達到「V...
-
Toyota 新「雙側滑門廂型車」發布引爆熱議!網友讚「行李空間超大、實用性很高」! 提供全長4.4m&4.7m兩種車身、舒適性與便利...
-
Toyota 全新「小型四驅 SUV」正式亮相! 全長約 4.5 公尺的「方正硬派車身」,搭載 2.7 升「直列四缸」引擎! 被...
-
新車只要 97 萬日圓! 三人座「迷你三輪車」實車展示! 全長僅 2.2 公尺,AT 限定駕照即可上路,免車檢! 超便利交...
-
Suzuki「兩人可睡」的舒適輕型廂車超強! 全長3.4m等級「小小輕型 One-Box」變身「車中過夜專用車」!停車時也能使用「冷氣...
FB一手車訊粉絲團
FB一改裝車訊粉絲團















